Have you ever ordered a door hinge only to find the rounded corner doesn’t match your door? Surprisingly, hinge radius is often the difference between a functional door and a failing one. To ensure reliable performance, it’s essential to understand 1/4 vs 5/8 radius hinges.
A real renovation frustration:
“My main radius problem is whether it’s crazy to buy different hinge radii and swap the leaves just to match the existing ¼” mortises in some jambs, rather than re-mortising them all for my new ⅝” radius doors.”

What Is a Hinge Radius? What is the Common Standard?
Hinge radius is the measurement of the curved corner cut into the rectangular metal hinge leaves. This radius must exactly match the mortise (cutout) in the door and frame, as an incorrect fit will cause wobbling or misalignment.
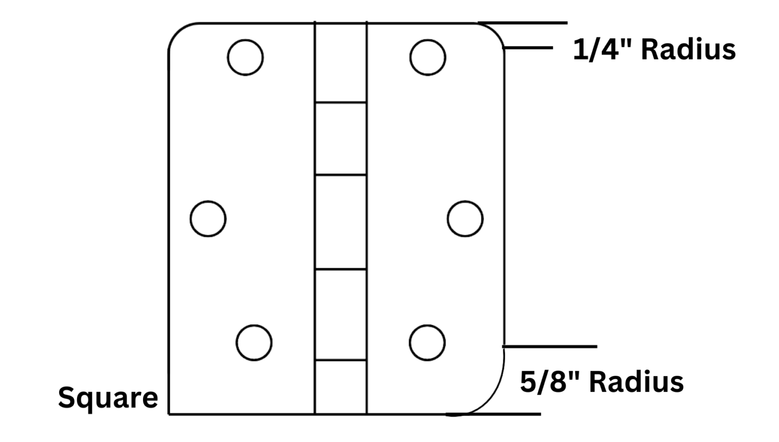
The two most common standard rounded radius in USA are 1/4 inch (6.4 mm) and 5/8 inch (15.9 mm).
1/4″ vs 5/8″ Radius Hinge Differences
It really comes down to the curve. A 1/4″ radius hinge has a tighter, more squared-off look that feels modern. On the other hand, a 5/8″ radius hinge has a rounder curve that matches most pre-rounded jambs, which is generally easier for retrofits and replacements.
| 1/4″ Radius | 5/8″ Radius | |
|---|---|---|
| Appearance | Squarer premium look | Rounded Traditional look |
| Retrofit Ease | Requires precise mortising | Works well for rounded corner frames |
| Common in US | Less common | Most common |
To know the hinge radius comes down to 2 easy ways: the coin test and the ruler test.
- Coin Test (Fastest)
- Dime matches the corner → 1/4″ radius
- Quarter matches the corner → 5/8″ radius
- Ruler Test (Precise)
Measure the distance from the original corner point to where the curve begins. It will confirm 1/4″ or 5/8″.
But Why Do 1/4” and 5/8” Radius Hinges Exist?
They originate from different machining efficiencies. Hinges start as flat metal leaves, and the corner radius is shaped by the cutting tools used in production. A 1/4″ radius needs tighter, slower precision cutting, while a 5/8″ radius aligns with faster, more forgiving production tools that create a naturally rounder corner.
Manufacturers prefer the 5/8″ radius because it reduces tool wear, speeds up production, and minimizes alignment issues—making it the most cost-efficient option for mass-produced doors. The 1/4″ radius remains available for projects that want a sharper, higher-precision look, even though it costs more to produce.
Which One to Choose: 1/4” vs 5/8” Radius Hinge?
Choose the hinge radius based on how your door and frame are mortised.
1. Factory or job-site mortising: when doors and frames are mortised, the cutting tool defines the radius—CNC machining creates tight 1/4” corners, while job-site routers naturally produce a 5/8” radius.
2. Matching existing conditions: must match whatever radius already exists on the frame or door to avoid gaps, misalignment, or rework.
Can a 5/8″ Radius Hinge Match an Existing 1/4″ Mortise?
To answer the renovation frustration mentioned above, where he wants to match existing 1/4” mortises with new 5/8” radius doors: Mixing different radius hinges is not ideal.
Why? Because mismatching radius causes problems:
- Misalignment issues due to incompatible mortise sizes.
- Operational problems like the door binding or sagging.
- Wobbling or a poor fit in the cutout.
- Aesthetic inconsistencies, especially in high-end projects.
The essential rule is that the hinge radius must match the mortise (cutout) in the door and frame.
However, radius is not the only factor. If your door is heavy or in a high-traffic area, you may need a solution that goes beyond standard radius hinges.
Waterson Radius Hinges vs Standard Radius Hinges
Common radius hinges may fit many applications, but they often fall short in terms of weight capacity and durability, particularly in high-traffic or heavy-duty environments. In contrast, Waterson ¼” and ⅝” radius hinges are engineered to provide reliable functionality.
| Feature | Waterson 1/4” and 5/8” Radius Closer Hinges | Standard 1/4″ or 5/8″ Radius Hinges |
| Weight Capacity | Up to 260-330 lbs (or more) | Typically up to 100 lbs |
| Applications | Commercial, residential, industrial See our case studies |
Light-duty or residential use |
| Closing Mechanism Options |
|
No closing mechanism hinge or regular spring hinges |
| Material | 304 and 316 stainless steel | Steel, aluminum, or brass |
| Finishes |
|
Varies by brand/model |
| Fire Rating | UL-listed for 3 hours | Not always fire-rated |
| Durability | ANSI Grade One (1M cycles) | Varies by brand/model |
Whether 1/4″ or 5/8″ radius, every Waterson hinge delivers heavy-duty strength, reliable self-closing performance, and durable stainless steel construction for long-term performance.
Waterson provides many hinge corner options to fit your application. Check them out:
- Square 4 inch self closing door hinges
- 5/8” radius hinge – standard screw pattern
- 5/8” radius hinge -zigzag screw pattern
Waterson Self Closing Radius Hinges
Waterson Self Closing Hinges combine the function of an overhead closer and a hinge into a single, sleek component—complete with optional hold-open and door-stop features. Designed for commercial openings, gates, and glass doors, these hinges are easy to install and adjust to meet ADA and ICC A117.1 standards for opening force, while ensuring quiet and secure closure. Crafted from durable stainless steel, they are NFPA 80 compliant, UL 3-hour fire-rated, and built to perform reliably in both interior and all-weather exterior environments. See all our features.
In addition to these performance advantages, Waterson offers flexible customization services. As a direct manufacturer, we can tailor hinge sizes, finishes, and especially hinge leaf designs to meet the specific structural needs of your doors. This makes our hinges an ideal solution for door manufacturers seeking custom options that integrate seamlessly with their existing frames.
Request For Quote
Please note that Waterson closer hinges start from a size of 4″x4″. If you’re in need of smaller self-closing hinges, we’d recommend checking out some other resources! Also, we only provide single acting closer hinges. Thank you.
Recent Post
A Guide to Waterson Self Closing Outdoor Gate Hinges: Pool, Garden, Driveway & Industrial Applications
"Choosing the right gate hinge comes down to four things: gate type, environment, weight capacity, and code compliance." In case you are uncertain about how [...]
Heavy Duty Weldable Gate Hinges: Are You Spec’ing the Right One?
"I'm looking for a self-closing, weldable gate hinge that can support at least 200 lbs per pair and is reasonably priced." If you've spent any [...]
How to Provide Your Frameless Glass Door Information to Waterson to Get Product Recommendations
If you're new to Waterson Hinges and not sure how to get started, this page is for you. We get a lot of inquiries every [...]







